一、钽电容的构造和生产过程
固体钽电解基本由钽粉(正极)+氧化膜(不能独立于钽粉存在)+二氧化锰+银粉+石墨+环氧树脂+引线

第一步:将钽粉和有机溶剂掺杂在一起,按照一定的形状加压成形,同时埋入钽引线。
第二步:在2000度以上的真空高温环境下,将掺杂有机溶剂的钽粉在真空中进行烧结变成类似于海绵的状态,同时和引线真正地融合在一起。
第三步:将海绵状的钽,泡在磷酸溶液里面电解,氧化后表面即生成五氧化二钽。五氧化二钽的介电常数非常高,在27左右,性能高于铝电解电容的三氧化二铝介质(介电常数7左右)。
第四步:将液态的硝酸锰加入钽块,然后将其在水蒸汽(催化剂)环境中进行热分解,分别成二氧化锰与二氧化氮。硝酸锰吸附性好,生成的二氧化锰可以完全吸附在海面状钽块内部的无数个小孔当中。假如 PPY/PEDT里直接使用固体的二氧化锰,就无法达到这种效果,这就为什么二氧化锰只能在制造过程中得到的原因。假如使用PPY/PEDT等固体聚合物,因其溶点很低,就可以直接将其熔解然后放进去。
第五步: 最后要将银粉和石墨涂在二氧化锰的表面上,减少它的ESR,增强它的导电性。
第六步: 加入外引线,然后用环氧树脂进行封装。
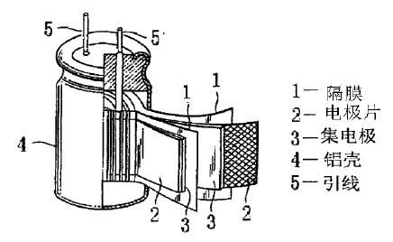
二、铝电解的构造和生产过程
铝电解基本由正极箔+氧化膜(不能独立于正极箔存在)+电解纸(浸有电解液)+负极箔+外壳+胶塞+引线+套管

第一步:铝箔的腐蚀:增加面积几十到几百倍,凹凸不平
第二步:氧化膜形成工艺:形成具有单向导电性的氧化膜
第三步:铝箔的切割
第四步:引线的铆接
第五步:电解纸的卷绕
第六步:电解液的浸渍
第七步:装配:加铝壳跟胶塞
第八步:卷边:加套管
第九步:老化:额定电压跟额定温度下
